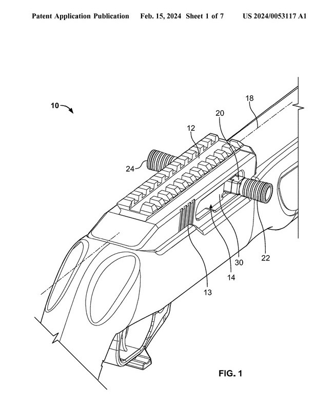
As usual, I was spelunking through the USPTO website when I found two new Smith & Wesson patent applications for a Ruger 10/22 clone, a la their discontinued Thompson/Center R22. The patentable features include an ambidextrous charging handle and a new adjustable stock. It looks like it is aimed at the Steel Challenge and the Sportsman Team Challenge rimfire rifle market.


