People associate the BREN TEN with bad guys, babes, and helicopters. To be sure, the pistol is effective on all three. The original Dornaus & Dixon 10mm was not known for reliability, but it was touted as an extremely accurate pistol. The proprietary “Power Seal” rifling, and the overall design, which borrowed heavily from theContinue reading “Stewart’s Bren 10 Story”
Category Archives: Guns
KY Deer Season 2022
Well, that was quicker than I thought. Opening day was nothing but cold rain. I took my best friend and son with me opening day. They had never been before and I had really hoped beginner’s luck would come out and my friend would get one. No joy. Despite being soaked and freezing, a goodContinue reading “KY Deer Season 2022”
‘Doc’ Holt Carry Comp
A used older custom colt that Karl is sharing today.
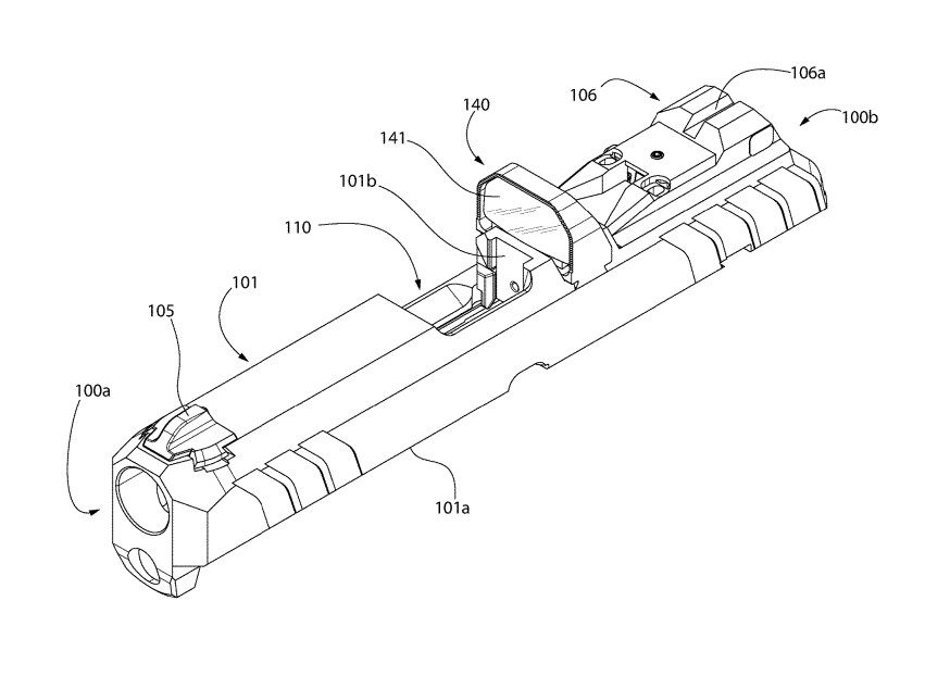
Blade Runner Blaster
Our recent debate and video about Blade Runner reminded me that my friend, Stewart, has a replica of one of the pistols used in the film by the Blade Runner section of the police. Made from real guns, the pistol isn’t an easy thing to source. I asked Stu to talk about how he acquiredContinue reading “Blade Runner Blaster”
King’s Gunworks Colt
A classic from Karl today.
1939 Colt OMM
A classic Colt 6 shooter from Karl today.
Colt Combat Government
Today Karl has this rarity for us. The little seen Colt Combat Government.
S&W Model 581
Another 6 shooter from Karl.
S&W Model 25 .45 ACP
Today from Karl at KGB customs is this S&W with a comp. Got to wonder about just how well that comp worked for a 45 ACP..
Custom Target 1911 With Vented Rib
Karl shares this one with us today. Some features you don’t often see on 1911s, even custom ones.