Last week, I show cased a few of favorite .41 Magnum revolvers of the late gunwriter Frank W. James. Today, I thought I’d show off a few of his custom semi-auto pistols. Alas, I don’t know who ultimately ended up with these. First up is a two-tone Colt Government Model from George Huening back whenContinue reading “Farmer Frank’s Custom Government Models”
Author Archives: D.E. Watters
New Ruger Patent Application for Integrated Pistol Optic
The following was just recently published on the USPTO website, and has not yet migrated to Google Patents. The depicted pistol looks like a cross between the Security-9 and the Ruger 57. The rod dot’s emitter is built into the rear sight,and will not require suppressor-height iron sights to co-witness.
Throwback Thursday – Another Colt Prototype for the Glue Factory
Or is it more of a “throw it back” Thursday? Today’s Colt prototype is undated, but it has a strong Charter Arms vibe. Perhaps Douglas S. McClenahan designed it while he was at Colt, years before he formed Charter Arms in 1964? However, part of me suspects it was built in the 1970s when ColtContinue reading “Throwback Thursday – Another Colt Prototype for the Glue Factory”
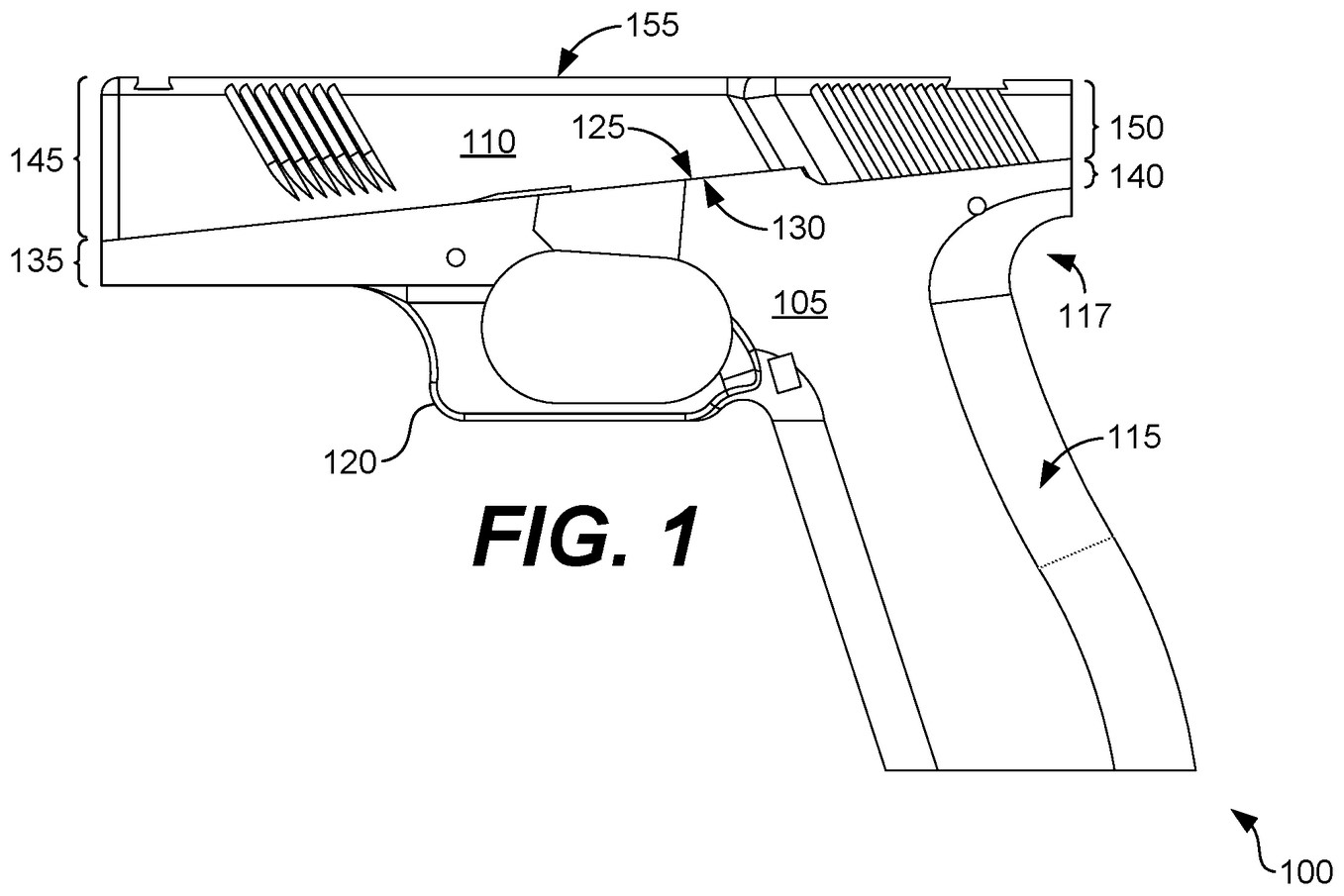
Low Bore Axis Pistol Design from Jameson and Paul Ellis
I realize that the Ellis family name may not leap out to you, but you should at least recognize some of Paul H. Ellis’ work from the US Army’s Human Engineering Laboratory (HEL). Remember the elevated sight rib on the Colt ACR prototype? That was one of Paul’s pet projects. Jameson S. Ellis is bestContinue reading “Low Bore Axis Pistol Design from Jameson and Paul Ellis”
Talon Armament Angled-Action Pistol Patent?
While spelunking in the USPTO database, I noticed a patent from William E. “Bert” Brown of Powder Springs, GA. Brown is the founder of Talon Armament, and the inventor of their “Clench Grip,” a moldable AR-15 pistol grip. While Talon Armament is best known for AR-pattern rifles, this patent application is for a fresh-sheet handgunContinue reading “Talon Armament Angled-Action Pistol Patent?”
Farmer Frank’s Custom Smith & Wesson Model 57 Revolvers
If you are a fan of the .41 Magnum, you may recognize the late gunwriter Frank W. James. Other than Elmer Keith and Evan Marshall, it is hard to think of any other gunwriters who were so attached to the cartridge. Today, we are going to look at three of Farmer Frank’s custom Model 57Continue reading “Farmer Frank’s Custom Smith & Wesson Model 57 Revolvers”
Clark “Grand Master” PPC Revolver
Continuing the wheelgun kick, today we have a collaboration between Jim Clark, Sr. and Ron Power. They started offering the Grand Master PPC conversions of Smith & Wesson and Ruger revolvers in 1980. As the ad states, the sight rib is a one-piece shroud for the Douglas match barrel. Power would later revert to aContinue reading “Clark “Grand Master” PPC Revolver”
Bill Davis “Cougar” and “Rattler”
I figured we would stick to a custom revolver theme for another day or so. Today, we find out what happens when a Ruger and a Colt love each other very, very much. Bill Davis ran one of the most influential revolver gunsmithing operations on the West Coast. He was the man to see ifContinue reading “Bill Davis “Cougar” and “Rattler””
Jack Weigand Smith & Wesson 940 “Executive” 4PJ Conversion
Before Jack Weigand went all-in as the manufacturer of firearms optic mounts, he was a respected pistolsmith. He briefly ran the Springfield Armory Custom Shop after Les Baer left. Weigand even tried to give it a go as the Taurus Custom Shop manager before deciding that was a dead end. During the early 1990s, WeigandContinue reading “Jack Weigand Smith & Wesson 940 “Executive” 4PJ Conversion”
Jeff Wassom “Shooting Star Industries” Pistol
Since I posted the photo of Chip McCormick with his 1988 Steel Challenge pistol, I figured you might want to look at another example by Jeff Wassom from the same era. It even has the signature welded-up “rat tail” grip safety like McCormick’s own pistol. McCormick’s previous winning pistol in 1986 had been built byContinue reading “Jeff Wassom “Shooting Star Industries” Pistol”